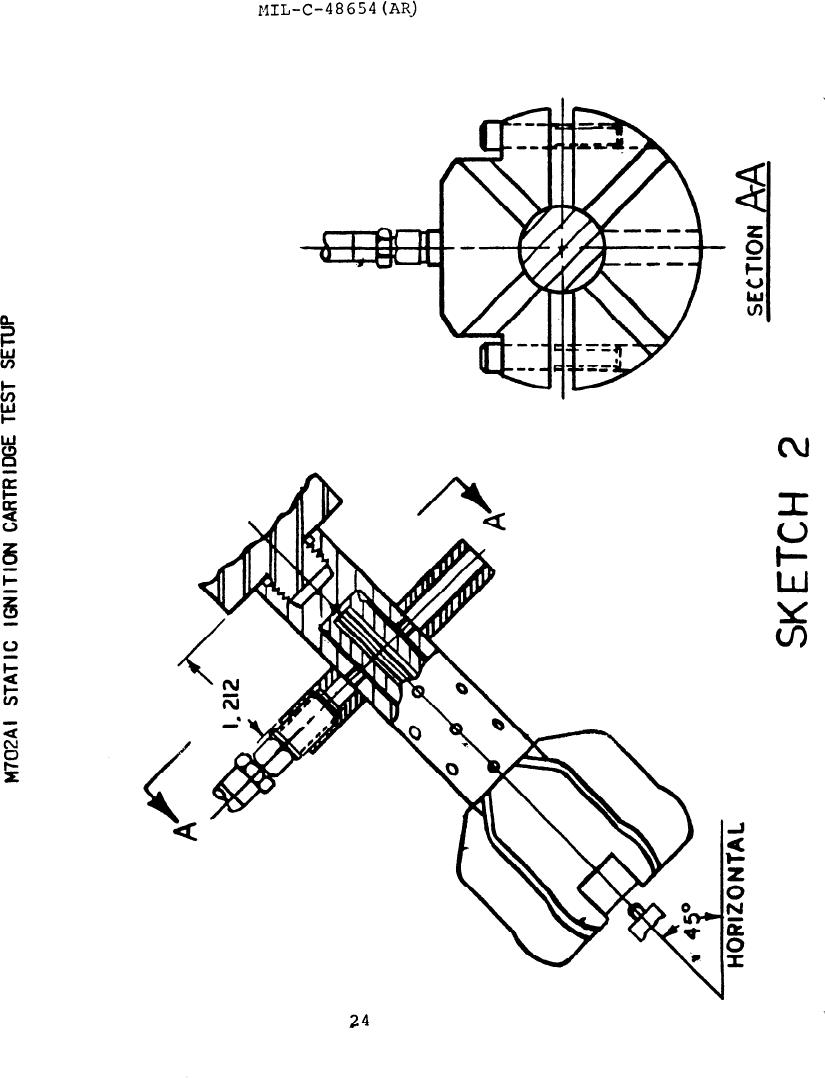
MIL-C-48654 Cartridge, Ignition, M702A1 Loading, Assembling And PackingThis specification contains requirements and provides quality assurance provisions quality assurance provisions for the loading, assembling and packing of the M702A1 Ignition Cartridge for the Light Weight Company Mortar System.